机械和气动控制部件

/ 产品 / 汽油和化学品罐车零件 / 机械和气动控制部件 / 油罐车底部装载应用的安全机械阀控制系统

油罐车底部装载应用的安全机械阀控制系统

油罐车底部装载应用的安全机械阀控制系统

在油罐车操作中,安全从来不依赖于单个部件。相反,它是通过协调的机械控制系统实现的,该系统确保可靠的阀门操作、应急响应能力和有效的静电放电。该系列机械控制产品专为配备手动底部阀门的油罐车开发,为操作员提供精确的控制、快速响应以及燃料运输和卸载过程中的增强安全性。

在世界不同地区,这种类型的系统有多种名称。在欧洲,它通常被称为机械底部阀门控制系统或紧急阀门控制组件。在北美,它通常被描述为手动油罐车阀门控制连杆或拉绳阀门系统。在中东和东南亚,用户往往关注其作为油轮安全远程手动关闭机制的作用。在中国和其他亚洲市场,它被广泛认可为与放电电缆和接地装置相结合的手动阀门控制支架。尽管术语存在差异,但目的仍然相同:确保油罐车阀门在所有工作条件下安全、可控且故障安全运行。

该系统的核心是手动控制支架,旨在独立操作多个底部阀门。每个手柄对应一个机械阀,使操作员能够清晰、精确地管理不同的隔间。模块化设计使用户能够根据油罐车配置选择控制手柄的数量,使该系统适用于各种车辆尺寸和油箱布局。一旦接合,手柄机构就会自动限制其位置,而无需额外的锁定装置,从而降低操作复杂性和人为错误。

高温条件下的安全是油轮设计中的一个关键考虑因素。为了解决这个问题,控制手柄配备了可熔安全元件。当环境温度超过预定阈值时,该机构会自动将阀门返回到关闭位置,有助于防止燃料泄漏并降低紧急情况下的火灾风险。

为了将控制范围扩展到直接手动操作之外,该系统集成了放电电缆和手动杆,可实现远程阀门驱动。这些组件允许操作员在必要时从更安全的距离快速关闭燃料流动,这是紧急情况下的一个基本功能。放电电缆经过精心设计,具有高抗拉强度和一致的拉力,即使在恶劣环境中长期使用也能确保控制动作的可靠传输。

完善该系统的是安装在油罐车后部的静电接地带。在装卸过程中,静电积聚是一种已知的危险,可能导致火花和潜在的爆炸。可调节接地带保持车辆与地面之间的持续接触,有效消散静电荷并显着降低点火风险。

这些组件共同构成了油罐车的综合机械安全控制解决方案。这种机械方法不仅仅依赖电子系统,还在不同的操作环境中提供耐用性、简单性和可靠的性能。无论用于石油运输车队、化学品物流还是散装燃料输送作业,该系统都提供了一种实用且经过验证的方法来增强油轮的安全性和操作信心。

  • 规格
  • 联系我们

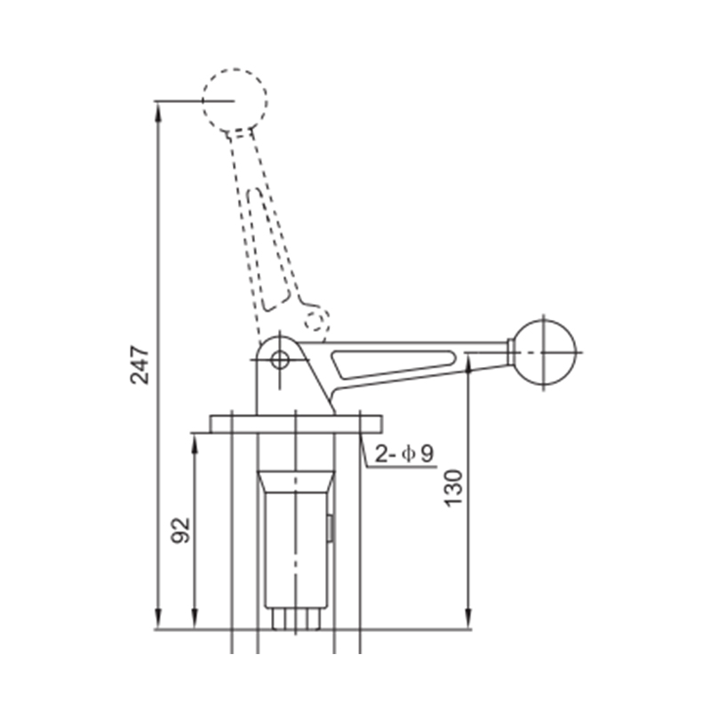
HBSZJ系列手动底部阀门手动控制支架

它是机械系统油罐车的一部分,可以根据用户的需求制作手柄的数量。一个手柄控制一个机械阀。易于操作。当发生紧急情况时,可以更方便地连接到HBLG进行遥控器。手柄内有热熔片,当温度高于75°C时,手柄将自动关闭。


订购规格:

产品编号 处理数量 分期付款规模 L
HBSZJ-01 1个手柄 112毫米
HBSZJ-02 2个手柄 144毫米
HBSZJ-03 3个手柄 176毫米
HBSZJ-04 4个手柄 208毫米
HBSZJ-05 5个手柄 240毫米
HBSZJ-06 6个手柄 272毫米
HBSZJ-07 7个手柄 304毫米
HBSZJ-07 8个手柄 336毫米

功能与特点:
当手柄处于正确位置时,它会自动限制,因此无需修复。
当温度过高时,打开的手柄将自动返回到关闭位置。

手柄数量可根据用户需求排序

订购规格:

产品编号 长度 拉力/推力
HBLZ01 2500毫米 65毫米 3000/60 N
HBLZ02 2100毫米 120毫米 3000/400 N
HBLZ03 2000毫米 65毫米 2000 N


HBLZ系列放电电缆

订购规格:
产品名称:HBLS-01放电电缆
钢直径:3毫米
常规长度:14米
我们可以根据用户’详细要求制作长度

HBLS-01放电电缆



HBJD-01 静电导电橡胶带

HBJD-01 静电导电橡胶带 is installed at the end of the fuel tanker truck, the length can be adjusted conveniently to keep the bottom and ground effectively connected and to prevent vehicle fire explosion caused by static electricity.

HBLG-01 手杆

关于海波
浙江海波石油设备有限公司。

浙江海波石油设备有限公司成立于2017年,是一家位于浙江省温州市永家县的认证企业—被全球公认为全球最大的石油设备制造基地,也是中国著名的泵阀之乡。
我们的产品广泛应用于流体控制系统、能源系统、测量系统、管道系统和液压系统,为世界各地的石油公司、军事单位、油库、油罐车制造商和加油站提供服务。省—被全球公认为全球最大的石油设备制造基地,也是中国著名的泵和阀门故乡。
在海博,我们拥有一支在石油设备和流体控制领域拥有 20 多年专业经验的高级行业专家团队。他们深厚的技术知识和行业洞察力确保我们提供的每种产品和解决方案都符合质量、可靠性和性能的最高标准。

荣誉证书
  • 实用新型专利证书
  • 实用新型专利证书
  • 实用新型专利证书
  • 实用新型专利证书
  • 实用新型专利证书
  • 实用新型专利证书
  • 实用新型专利证书
  • 实用新型专利证书
  • 实用新型专利证书
  • 实用新型专利证书
  • 测试报告
  • 测试报告
新闻
  • 随着国内油轮行业环境安全标准的不断提高,对加油站设备精细运行的需求变得越来越迫切。浙江海博石油设备有限公司凭借多年的技术研发和生产经验,打造了一系列油罐车和燃油分配器零件。这些产品适应性强、稳定性高、安全性高,已成为能源运输和石油零售终端的核心支撑选择,保障整个石油产业链的安全运行。 在油轮零部件领域,海博石油密切关注2024年油轮行业的新政策要求,推出包括密封件、阀门、连接器等全系列...

    READ MORE
  • 近日,浙江海博石油设备有限公司多款燃油喷嘴产品完成技术升级。凭借其精准计量、安全防护、适应智能化等核心优势,成为石油零售终端设备升级的首选方案,为加油站行业高质量发展注入新动力。 海博石油是一家扎根于石油设备领域的专业企业,其燃油喷嘴产品广泛应用于全国各加油站、油库、加油场景。此次升级严格遵循2025年燃油喷嘴行业新标准要求,将双校准模块集成到产品设计中,实现机械和电子检测。错误率严格...

    READ MORE